加入战局 谷歌折叠屏移动设备专利曝光
原标题:加入战局 谷歌折叠屏移动设备专利曝光
【手机中国新闻】将来会出现搭载折叠屏的谷歌Pixel设备吗?据外媒报道,美国专利商标局(USPTO)日前公布了谷歌的一项专利。根据专利显示,谷歌似乎也在研发折叠屏设备。

谷歌
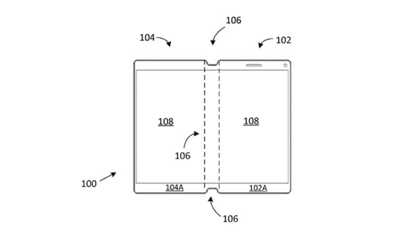
谷歌这项专利申请于2018年7月25日,按照专利上的示意图,谷歌折叠屏设备使用铰链设计。另外专利中,谷歌使用了大量文字和数字描述折叠屏如何显示内容和对应用程序的控制。

谷歌可折叠设备专利
专利显示,谷歌折叠屏设备能在“帐篷”形态下,可以两面同时显示内容,还能当做手机、平板使用,实现原理与联想YOGA笔记本类似。值得注意的是,专利还讲到该设备在拍照录像时,可以使用任何一侧屏幕显示内容。这意味着谷歌折叠屏设备不需要传统意义上前置和后置摄像头。

谷歌可折叠设备专利
除此之外,谷歌还申请另外一项折叠屏专利,将其描述为“可折叠计算设备”专利方案,该方案并非单指智能手机领域里的折叠屏,而是更广泛地通过几种方法去提高所有折叠屏产品的耐久性和使用寿命。
在未来手机市场,除传统直板手机外,折叠屏手机或许会成为智能手机设计发展方向之一,一个充满创意,避免同质化的手机市场谁有不喜欢呢?
版权保护: 本文由 沃派博客-沃派网 编辑,转载请保留链接: http://www.bdice.cn/html/16634.html
