佳能RF系统将发布两款微距镜头:90微与100微
原标题:佳能RF系统将发布两款微距镜头:90微与100微
【PConline 资讯】佳能专微EOS R自发布以来,争议最大的事情恐怕就是镜头全靠EF系列支撑。全新RF卡口的新镜头研发需要非常漫长的时间,而全画幅微单之战目前只寥寥可数的几款,实在让人非常捉急。据称佳能明年将会发布大量RF新镜头,其中最先登场的会是微距镜头。


焦距:86.00mm
光圈:2.87
半画角:14.12度
像高:21.64mm
镜头长度:115.07mm
后焦距:15.93mm

焦距:97.00mm
光圈:2.92
半画角:12.57度
像高:21.64mm
镜头长度:115.12mm
后焦距:20.01mm
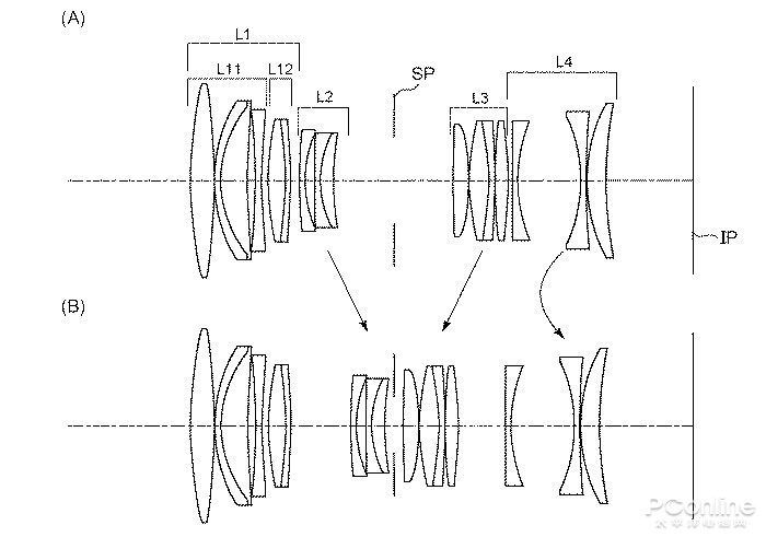
佳能公布的两款新RF镜头专利,分别是RF 90mm f/2.8L IS Macro和RF 100mm f/2.8L IS Macro。在单反时代,佳能的百微镜头真是经典中的经典,价格不贵光学性能超高,可以称得上是必买红圈镜头之一。而现在,EOS R正是担大头的角色,佳能要先给它安排最拿手的镜头来丰富RF镜头群。显然对于微距镜头,佳能是很有信心的,如果你是EOS R玩家,需要的话可以密切留意两款新镜头的发布时间了。
版权保护: 本文由 沃派博客-沃派网 编辑,转载请保留链接: http://www.bdice.cn/html/22823.html
