特斯拉开发新科技 自动检测车辆故障以保障行驶安全
原标题:特斯拉开发新科技 自动检测车辆故障以保障行驶安全
【CNMO新闻】除非你定期对汽车进行全面体检,否则一般来说都是等它出了问题你才会去维修。然而,特斯拉正在研究一种更加高效的方法。
特斯拉申请了一项新的专利,可以在汽车出问题之前就对其进行探测,甚至可以自动将汽车开到维修服务中心。这项专利旨在监控车辆中某些部件上存在的“应力循环”,以便在问题爆发之前发现潜在的故障。
特斯拉对于汽车问题的解决方法的描述是“应力相关损坏”。
“可以采取很多不同的方式来检测和解决与压力相关的损坏。一种方法是等待故障发生,然后在发生故障时更换或者修复故障的组件,这种方法通常比较危险,因为设备故障可能导致安全隐患,甚至牵连到其他部分受到损伤。另一种方法是定期检查或更换设备(比如每月检查,或者在一定的行驶里程后进行检查)。这些间隔可以基于”经验法则“或其他的推测方法。尽管经常进行检查和维护可以防止由应力相关的损坏而导致的设备故障,但是这种方法的效率可较低。例如,即使组件没有损坏也可能被更换掉。此外,进行定期的检查可能既费时,又费钱。”
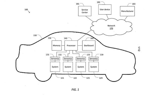
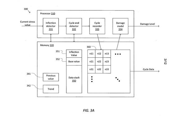
特斯拉的解决方案涉及贯穿整个车辆的“应力传感器”和配置为监控传感器的处理器。
这是特斯拉对这一系统的描述:“用于监测应力循环的系统包括了储存应力循环基值和拐点值的处理器以及耦合到存储器的一个或者多个处理器。处理器配置为从应力传感器接受一系列应力值。对于这一系列中的每个应力数值,处理器被配置为执行操作,包括在一系列应力值中进行对比、监测应力值的拐点。第一次对比,对拐点更新基值和拐点值进行监测,然后在应力值和基值之间进行第二次对比,根据第二次对比确定这一应力循环是否完成,并记录应力循环以判断是否完成了应力循环。”
以下是系统不同部分之间通信方式的图表:

系统间通信 图1

系统间通信 图2
如上图,特斯拉正致力于将他们的服务中心连接到这一应力监测系统,并根据从系统中接收到的信息,向客户提出维修建议。
特斯拉甚至设想了一个更好的方案,即在监测到问题后,汽车会启动自动驾驶自己开车到维修中心。
“某些情况下,处理器可以通过网络耦合到一个或者多个外部实体。因此,处理器可以被配置为通过网络向各种接受者发送应力循环或者损坏数据。例如,处理器可以向服务中心发送应力循环和损坏数据,帮助服务中心识别出损坏的子系统并及时联系接线员,以安排维护预约。或者在不久的将来,自动驾驶汽车可以启动自动驾驶行驶到维修中心进行维修。“
版权保护: 本文由 沃派博客-沃派网 编辑,转载请保留链接: http://www.bdice.cn/html/23847.html
