最前线 | 咪蒙风波仍在持续,微信公众号显示已经注销
2月21日,36氪在微信上搜索“咪蒙”公众号时发现,该帐号显示“已经注销”。同时,咪蒙在其他平台的帐号也在陆续被封禁,凤凰网、头条号也于今日发布公告称“封禁‘咪蒙’‘才华有限青年’”。
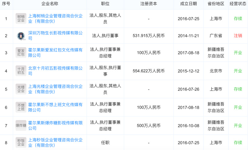
咪蒙公众号创始人为马凌,又称咪蒙。根据天眼查显示,马凌为北京十月初五影视传媒有限公司的法定代表人,同时为该公司大股东,持股比例66.67%。
根据天眼查显示,马凌名下共有8家公司。目前咪蒙公众号所属的公司为霍尔果斯爆炸糖影视传媒有限公司,帐号于去年5月3日迁移到该公司旗下。此前帐号所属主体为深圳万物长生影视传媒有限公司,企业主要业务为原创作家影视制作平台,于2014年11月成立,根据天眼查显示,目前该公司也已经注销。

前不久,微信公众号“才华有限青年”因发布《一个出身寒门的状元之死》在朋友圈刷屏,引起了不小的负面舆论风波。“才华有限青年”帐号也为霍尔果斯爆炸糖影视传媒有限公司所有,是咪蒙旗下公众号之一,因此咪蒙及其文章也受到牵连。
咪蒙也因此发布道歉信表示,从2月1日开始,咪蒙微信公众号停更2个月、咪蒙微博永久关停。
在咪蒙发布道歉信后,人民日报还评论称,“咪蒙发道歉信,避实就虚,避重就轻,暴露出一贯的擦边球思维。当文字商人没错,但不能尽熬有毒鸡汤;不是打鸡血就是洒狗血,热衷精神传销,操纵大众情绪,尤为可鄙。若不锚定健康的价值坐标,道歉就是暂避风头,“承担起相应的社会责任”就变成一地鸡毛。”
附:咪蒙道歉信全文
【道歉信】
针对咪蒙团队在网上引发的负面影响,我们进行了认真深刻的反省。
我们为所犯的错误,真诚地向大家道歉。
我们决定从今天开始,咪蒙微信公众号停更2个月、咪蒙微博永久关停。
用这个时间,全面反思,积极调整,为大家提供更有价值的内容。
作为一个有影响力的自媒体,我们应该承担起相应的社会责任,传递更正能量的价值观。
再次向大家表示真诚的歉意。
咪蒙团队
2019年2月1日
版权保护: 本文由 沃派博客-沃派网 编辑,转载请保留链接: http://www.bdice.cn/html/36844.html
